Популярные вопросы по металлическим подвесным потолкам
- Чем отличаются подвесные потолки от натяжных?
- Какой профиль нужен для подвесного потолка?
- На какой высоте делают подвесной потолок?
- Сколько служит подвесной потолок?
- Как продлить срок службы?
- Сколько стоит подвесной потолок?
- Где применяются металлические подвесные потолки?
- Как ухаживать за подвесным металлическим потолком?
- Какими техническими характеристиками должны обладать подвесные системы?
- Где не рекомендуется устанавливать подвесные потолки?
- Какие бывают виды подвесных потолков?
- В чем отличие конструкций закрытого и открытого типа?
- Для чего нужна звукоизоляция потолка?
- Какое освещение подходит для металлических подвесных потолков?
- Какие требования пожарной безопасности к подвесным потолкам?
- Что такое сетчатый потолок и для чего используется?
- Как крепится подвесной потолок?
- Как работает/как устроены скрытые потолочные системы?
- Сроки установки металлического потолка?
Металлические подвесные потолки остаются одним из самых востребованных решений как для офисных, коммерческих, административных зданий, так и современных жилых интерьеров. Рассмотрим самые распространённые вопросы о навесных потолках из металла.
Чем отличаются подвесные потолки от натяжных?
Основное отличие натяжного потолка от подвесного в том, что подвесной потолок — это конструкция из отдельных элементов (кассеты, рейки, панели, 3D элементы), закрепленных на несущем каркасе, тогда как натяжная конструкция представляет собой цельное полотно (ПВХ или тканевое), натянутое на багет по периметру комнаты.
Какой потолок лучше: подвесной или натяжной, можно решить исходя из их потребительских качеств. Натяжной требует меньше времени на установку и легче моется, но боится механических повреждений — проколов, порезов. Также он склонен к потере эластичности при низких температурах. Подвесной потолок более устойчив к механическим повреждениям, отличается высокой ремонтопригодностью, но требует больше времени на монтаж (см. таблицу 1).
Таблица 1. Разница между натяжными и подвесными потолками
| Параметр | Подвесной потолок | Натяжной потолок |
| Конструкция | Каркас + панели/кассеты/рейки/листовые материалы/3D элементы | ПВХ-полотно или ткань, натянутые на багет по периметру помещения |
| Монтаж | Быстрый монтаж простых конструкций, но для сложных многоуровневых — более трудоемкий и длительный | Быстрый монтаж, занимает несколько часов для одноуровневой конструкции |
| Доступ к подпотолочному пространству | Модули легко снимаются и возвращаются на место | Трудный доступ, требуется демонтаж |
| Ремонтопригодность | Возможна частичная замена лицевых, конструктивных элементов | В случае ремонта требуется полная замена полотна |
| Назначение | Декоративное решение, скрытое размещение коммуникаций, легкий доступ к инженерии, обеспечение пожарной безопасности, акустического комфорта, гигиеничности | Декоративное решение, визуальное выравнивание плоскости |
| Высота «съедает» | 7–20 см и более | 3–5 см и более |
| Материалы | Металл, металл с покрытиями, минеральное волокно, гипс, стекло, дерево | Ткань или ПВХ |
| Экологичность и безопасность для здоровья | Состоит из химически инертных материалов, не выделяет токсичных веществ при нагревании | В случае пожара выделяет токсичные продукты сгорания |
| Где чаще применяют | Бизнес-центры, ритейл, концертные залы, аэропорты, учебные и медицинские здания, лабораторные и производственные помещения | Жилые интерьеры, офисы класса В+, торговые площади |
| Накопление статического электричества | Металлические конструкции менее склонны к накоплению статического заряда; кассетный потолок Clip-in для чистых помещений специально разработан для рассеивания статического электричества (сопротивление ≤ 108 Ом) | Конструкции из пленки ПВХ накапливают статическое электричество; тканевые потолки — в меньшей степени, если имеют специальную пропитку |
| Особенности эксплуатации |
Хорошо переносит перепады температуры или влажности; в случае протечки перекрытия не собирает воду |
Полотно может деформироваться при смене температуры; в случае протечки перекрытия может удерживать воду |
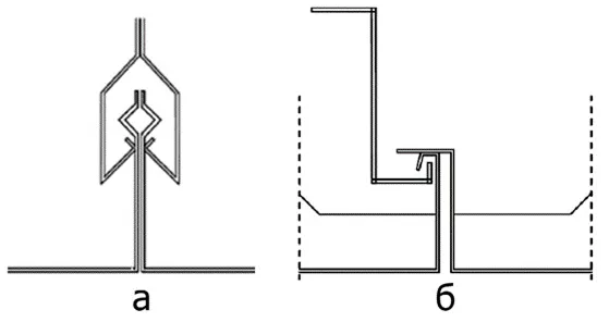
Какой профиль нужен для подвесного потолка?
Выбор металлического потолочного профиля зависит от типа системы (рис. 1)
Наиболее распространены:
- Т-профиль (T24/T15) — для открытых систем и армстронг-формата;
- Стрингер (гребенка) — для реечных систем;
- Z-образные/L-образные (угловые) — для кассетных систем;
- П-образные/С-образные/Омега(Ω)-профили — для закрытых систем и металлических реек;
- Поперечные профили используются в конструкциях кассетного типа. Они крепятся перпендикулярно направляющим профилям;
- Направляющие под гипсокартон (CD/UD) — для гипсокартонных потолков.
Материал профиля — сталь оцинкованная, алюминий.

Рисунок 1. Профили для каркаса подвесного потолка: а — Т-образный профиль; б — Z-профиль для систем hook-on; в — профиль для панелей со скрытым креплением clip-in; г — реечный профиль-гребенка (стрингер); д — П-образный профиль.

Рисунок 2. Стрингер (гребенка) для реечного потолка на анкерном подвесе.
Более подробно о типах профиля и конструкциях потолочных систем читайте здесь.
На какой высоте делают подвесной потолок?
Расстояние между подвесным потолком и перекрытием (базовым потолком) зависит от насыщенности подпотолочного пространства коммуникациями:
- системы без инженерии — от 70–100 мм
- с освещением и кабель-каналами — от 120–150 мм
- с воздуховодами и сплинкерными системами пожаротушения — от 200–400 мм.
При размещении в подпотолочном пространстве объемных воздуховодов или мощных кондиционеров расстояние металлического подвесного потолка от несущего потолка может увеличиться (рис. 2).

Рисунок 3. Потолочное размещение кондиционера.
Сколько служит подвесной потолок?
Потенциально металлические подвесные системы могут служить дольше других:
- Металлические: 20–50 лет
- Минеральные плиты: 10–20 лет
- Гипсокартонные системы: 15–30 лет
Срок службы подвесного потолка может отклоняться от средних значений в зависимости от влажности, температуры, коррозионной активности и качества монтажа.
Однако фактический срок службы интерьера часто зависит еще от смены моды или вкуса владельцев и может быть намного короче конструктивно заложенного, составляя в среднем 10 лет. Удобство демонтажа/замены элементов металлической потолочной системы позволяет при такой «смене имиджа» обойтись малыми затратами.
Как продлить срок службы?
Применяйте данный чек-лист:
- Использовать панели, кассеты или рейки из алюминия, нержавеющей стали или стали с антикоррозионным покрытием при влажности >70%.
- Избегать контакта с неизолированными трубами, источниками конденсата.
- Использовать промежуточные слои или окраску в местах потенциальной контактной коррозии, например в местах стыков «сталь-алюминий».
- Проводить регулярный осмотр креплений.
- Использовать сертифицированные профили, подвесы с защитой.
- Использовать потолочные системы только по их прямому назначению — не подвергать их дополнительным не предусмотренным конструкцией нагрузкам.
Сколько стоит подвесной потолок?
Стоимость рассчитывается индивидуально под каждый проект и зависит от:
- типа конструкции (реечный, кубообразный, кассетный, 3D, грильято);
- материала (алюминий, нержавеющая сталь, оцинковка с декоративным покрытием);
- типа профиля;
- специфических дизайнерских решений;
- сложности инженерии, монтажа;
- площади объекта.
Таблица 2. Ориентировочные минимальные цены за 1 квадратный метр*:
| Тип | Минимальная цена (материал + базовый монтаж) |
| Реечный металлический потолок (эконом-профиль) | от 1 200–1 500 ₽/м² |
| Кассетный металлический потолок | от 2 000–3 500 ₽/м² |
| Грильято (ячейка 100–200 мм) | от 2 200–3 800 ₽/м² |
| Минеральные плиты | от 900–1 600 ₽/м² |
| Гипсо-картонный | от 1 800–3 000 ₽/м² |
* средняя стоимость подвесных потолков — без учета сложных инженерных работ.
Где применяются металлические подвесные потолки?
У металлических потолочных систем целый комплекс полезных свойств:
- высокие эстетические качества,
- пожарная безопасность,
- влагостойкость,
- возможность частичной разборки,
- вандалостойкость.
Благодаря этому они применяются очень широко:
- в торговых центрах и общественных зонах;
- транспортных хабах, аэропортах, метро;
- в отделке бассейнов, кухонь, влажных помещений;
- в производственных зданиях, цехах, технических зонах;
- в жилых интерьерах в стиле хай-тек, лофт.

Рисунок 4. Подвесная конструкция в спортивном зале.

Рисунок 5. Навесной потолок в медицинском учреждении.
Как ухаживать за подвесным металлическим потолком?
Чтобы правильно помыть подвесной потолок без разводов и следов, можно следовать простым рекомендациям:
- Реечные или кассетные системы можно протирать влажной тканью с нейтральными моющими средствами, без абразивов.
- Грильято — можно очистить пылесосом, продувать воздухом, протирать мягкой влажной тканью.
- Гигиенические и медицинские конструкции можно мыть под напором воды с использованием специальных обеззараживающих средств.
Как матовый, так и глянцевый подвесной потолок не рекомендуется мыть высокощелочными моющими средствами с pH>10.
Какими техническими характеристиками должны обладать подвесные системы?
К ключевым техническим характеристикам подвесного потолка относятся:
- несущая способность;
- механическая прочность, геометрические характеристики лицевых элементов;
- отклонение лицевых элементов по цвету;
- класс пожарной опасности каркасов, группа горючести подвесных потолков;
- влагостойкость (RH %);
- акустические свойства (NRC, αw);
- коррозионная стойкость (К1—К5);
- экологическая безопасность (наличие сертификатов).
Существуют нормативные документы, в которых описаны технические требования к подвесным системам, например — ГОСТ Р 70939–2023 «Потолки подвесные. Общие технические условия».
Где не рекомендуется устанавливать подвесные потолки?
Применение металлических потолков не рекомендовано:
- в низких помещениях, где строительные нормы не позволяют уменьшить высоту (для помещений разного назначения установлены свои требования к минимальной высоте).
- в помещениях с повышенной взрывоопасностью (категории А и Б)*;
Где могут применяться подвесные потолки с определенными ограничениями?
- В помещениях, где возможно механическое воздействие на потолок (производственные помещения, склады, спортивные залы) применяют только конструкции с высоким классом прочности.
- В помещениях с экстремально высокой влажностью устанавливают влагостойкие потолочные системы (RH 100%).
- В медицинских учреждениях, помещениях общественного питания, лабораториях и производствах с «чистыми комнатами» применяют сертифицированные потолочные системы, выдерживающие регулярную уборку, стойкие к коррозии и биологическим поражениям.
- В лабораториях и других местах, где установлено чувствительное к накоплению статического заряда оборудование применяют подвесную кассетную систему Clip-in для чистых помещений, рассеивающий статическое электричество. Сопротивление в диапазоне 106 — 109 Ом позволяет ему медленно рассеивать заряд без опасных разрядов.
* Категории А (повышенная взрывопожароопасность) и Б (взрывопожароопасность) определяют помещения по степени риска возгорания и взрыва. Категория А включает горючие газы и легковоспламеняющиеся жидкости (ЛВЖ) с температурой вспышки не более 28 °С, а категория Б — горючую пыль и волокна, а также ЛВЖ с температурой вспышки свыше 28 °С.
Какие бывают виды подвесных потолков?
Большинство специалистов сходятся во мнении, что различать между собой виды навесных потолков удобнее всего по функциональности — назначению помещения. Приведем краткое описание, фото и название разных видов потолков.
1. Универсальные потолочные конструкции, предназначенные для установки в любых типах помещений — офисах, торговых центрах, учебных учреждениях.

Рисунок 6. Универсальный кассетный тип потолочной системы.
2. Влагостойкие — в условиях повышенной влажности сохраняют свои механические и эстетические свойства. Предназначены для бассейнов, аквапарков, прачечных, кухонь.

Рисунок 7. Реечный влагостойкий потолок.
3. Гигиенические или медицинские потолочные конструкции устанавливают в помещениях, к которым предъявляются строгие санитарные требования, например, в операционных, лабораториях, на чистых производствах.

Рисунок 8. Гигиенический потолок.
4. Акустические потолочные системы предназначены для снижения уровня шума в помещении.
В их состав входит специальное флисовое покрытие. А форма разрабатывается так чтобы снизить реверберацию звука, приглушить общий звуковой фон. Звукопоглощающие подвесные потолки используются в производственных помещениях, спортзалах, коммерческих площадях.

Рисунок 9. Звукопоглощающая потолочная панель.
5. Коридорные системы применяются в узких помещениях. Конструктивно отличаются от остальных систем креплением к стенам, а не к перекрытию.

Рисунок 10. Коридорный потолок.
6. Дизайнерские конструкции призваны повысить эстетическую привлекательность помещения.
Они создают ощущение дополнительного объема и пространства, задают «тему потолка» в интерьере. При этом они могут сочетать технические качества вышеперечисленных видов потолочных конструкций.

Рисунок 11. Дизайнерский реечный потолок.
Если же говорить о конструктивных особенностях, то существуют три основных вида: кассетный, реечный и грильято. Каждый из них имеет свою конструкцию:
- кассетный состоит из каркаса и отдельных квадратных или прямоугольных металлических панелей;
- реечный — из каркаса и узких металлических панелей, напоминающих рейки;
- а грильято — это ячеистый потолок, напоминающий решетку.
Главные качества основных видов потолочных конструкций:
- Кассетные — панели квадрат/прямоугольник, быстрый монтаж, удобны для скрытого размещения инженерии.
- Реечные — линейный дизайн, богатство вариантов конфигурации, хороши для любых помещений, в том числе влажных зон.
- Грильято (решетчатые) — визуальная прозрачность, вентиляция.
В чем отличие конструкций закрытого и открытого типа?
Отличия потолочных систем открытого и закрытого типа заключаются в способе крепления элементов и внешнем виде:
- в открытых системах между панелями или рейками остаются видимые зазоры;
- в закрытых системах панели плотно прилегают друг к другу, образуя сплошное полотно, а силовая конструкция (например, каркасные рейки) скрыта.
Открытый тип обеспечивает более простой доступ к коммуникациям и лучшую циркуляцию воздуха. А закрытый выглядит более цельно, монолитно, но при необходимости доступа требует больше трудозатрат на демонтаж.
Открытые потолочные конструкции распространены в общественных зонах, таких как: кафе, офисы, спортзалы и магазины, где важна эстетика, доступность коммуникаций и хорошая вентиляция подпотолочного пространства.
Закрытые подвесные конструкции используются в местах с высокими санитарными требованиями, например, в операционных, чистых производственных цехах и лабораториях, где необходима возможность легкой мойки поверхностей, поддержание строгой гигиены.
Для чего нужна звукоизоляция потолка?
Звукоизоляция подвесного потолка нужна для защиты от воздушного шума (разговоры, музыка, звуки телевизора) и снижения уровня ударного шума (звуки работы строительного инструмента, топот, падение предметов), что обеспечивает акустический комфорт и тишину в помещении. Звукоизоляция помогает поглощать отраженные звуки, что улучшает качество общения, восприятие речи. Это важно не только для жилых комнат, но и для помещений типа офисов, колл-центров, коворкингов или кинотеатров.
Для придания металлическим потолочным конструкциям звукопоглощающих свойств разрабатывается специальная геометрия, наносится флисовое покрытие. Для усиленной звукоизоляции можно размещать специальные маты в подпотолочном пространстве или непосредственно на базовом потолке.
Какое освещение подходит для металлических подвесных потолков?
По требованиям ГОСТа на каркасе навесной системы нельзя крепить дополнительное оборудование, если это не предусмотрено производителем. Поэтому для установки светильников требуется либо выбирать системы с уже предусмотренными местами для освещения, либо разрабатывать индивидуальные нетиповые решения по конструкции каркаса.
Среди типовых вариантов освещения чаще всего используются встроенные светодиодные LED-светильники для универсального кассетного подвесного потолка. По форме и размерам они повторяют типовые кассеты, различаются видом рассеивателя.
Для реечных потолков существуют светильники, разработанные по такому же принципу соответствия размеров. Индивидуальные решения позволяют разнообразить дизайн и более точно регулировать условия освещения.

Рисунок 12. Реечная потолочная система со встроенными светильниками.

Рисунок 13. Пример нетипового решения для реечного потолка.
Какие требования пожарной безопасности к подвесным потолкам?
Металлические навесные конструкции обладают отличными показателями пожарной безопасности. Так как сам металл, в отличие от многих материалов, является негорючим и не способствует распространению пламени.
Каркасы подвесных потолков в помещениях и на путях эвакуации должны быть выполнены из негорючих материалов (класс пожарной опасности КМ0) или, если они окрашены лакокрасочными покрытиями, иметь группу Г1 (что означает «очень низкая горючесть» по ГОСТ 30244).
По ГОСТ Р 58324-2018, который распространяется на подвесные модульные потолки, металл для профилей каркаса должен иметь температуру плавления не ниже 750 °C, что важно для устойчивости при пожаре. Это означает что несущий каркас может быть выполнен из стали, но не из алюминия.
Согласно СП 55-101-2000, для лицевых элементов потолка учитываются такие характеристики:
- горючесть (ГОСТ 30244)
- воспламеняемость (ГОСТ 30402)
- дымообразующая способность, токсичность (ГОСТ 12.1.044).
Металлические кассеты, рейки соответствуют этим нормативам с большим запасом.
Что такое сетчатый потолок и для чего используется?
Современные металлические сетчатые потолки конструктивно могут быть разных типов. Один из них — потолок грильято — это разновидность модульных подвесных конструкций, состоящая из решетчатых ячеек, образованных тонкими металлическими профилями (обычно алюминиевыми).
Другой вариант его названия — это решетчатый растровый потолок. Визуально потолок грильято выглядит как сетка из квадратных или прямоугольных ячеек, через которые частично просматривается пространство над потолком.
Название происходит от итальянского grigliato — «решетчатый».

Рисунок 14. Потолок решетчатого типа грильято.
Основные особенности грильято:
- Открытая решетчатая конструкция с ячейками от 30×30 мм до 200×200 мм и глубиной профиля от 30 до 100 мм.
- Частично скрывает коммуникации, но сохраняет доступ для обслуживания.
- Каркас из негорючего материала (НГ).
- Не препятствует работе систем пожаротушения, не задерживает дым.
- Часто применяется на путях эвакуации, в общественных зданиях.
- Создаёт эффект воздушного и стильного интерьера.
- Подходит для современных и коммерческих пространств.
- Отличное решение для помещений с вентиляцией и кондиционированием в подпотолочном пространстве — воздух свободно проходит через ячейки.
- Панели легко снимаются/заменяются.
- Устойчив к влаге, коррозии, перепадам температур.
- Уход простой: не боится влажной уборки.
Кроме грильято, похожий визуальный эффект полупрозрачной «сетки» можно создать с использованием кассет с перфорацией. Функционально такой потолок тоже близок к грильято — свободно пропускает воздух, легко монтируется и демонтируется, устойчив при перепадах температур и высокой влажности.

Рисунок 15. Кассеты с перфорацией.
Как крепится подвесной потолок?
Металлические модульные навесные конструкции (кассетные, реечные, грильято) крепятся на несущий каркас, подвешенный к базовому перекрытию через систему подвесов. Конкретный тип крепежа зависит от формата потолка и конструкции профилей.
В общем случае система крепления подвесного потолка включает такую последовательность элементов: Перекрытие → Анкер/дюбель → Подвес → Несущие профили → Поперечные профили → Панели/кассеты/3D элементы.
Таблица 3. Конструктивные элементы
| Элемент | Что делает | Чем крепится |
| Анкер / дюбель | фиксирует подвес к плите | клиновые, забивные, распорные, для бетона/кирпича |
| Подвес | задаёт уровень, высоту | регулируемые, пружинные, стальные шпильки |
| Несущие профили | создают каркас | Т-профиль, С- или U-профиль |
| Облицовка | панели, рейки, кассеты, грильято | защёлки, клики, подвес на гребёнку или кляммеры |

Рисунок 16. Виды подвесов для навесного потолка. Слева направо: подвес на тросах; нерегулируемый жесткий подвес; подвес «бабочка»; регулируемый подвес «двойная бабочка» (европодвес); регулируемый по длине резьбовой подвес (шпилька); нониус-подвес.
Системы крепления в зависимости от типа потолка:
1. Потолки Т-системы (Armstrong, кассетные)
- Каркас на Т-24 / Т-15 профилях
- Подвесы: анкер + спица + пружинный замок (бабочка)
- Плиты укладываются сверху или защёлкиваются
2. Грильято
- Каркас из решётчатых модулей
- Крепление на подвесы типа «спица + пружина» или проволочный подвес
- Часто применяют несущие направляющие (стрингеры)
- Секции вставляются в гребенчатые профили, не требуют отдельного крепления к каркасу.
3. Реечные потолки (алюминиевые рейки)
- Подвесы на стрингеры (траверсы) — гребёнка, в которую защёлкиваются рейки
- Регулировка по высоте через подвесы с тягой и зажимом (нониус, пружинные, проволочные)
4. Коридорные
- Монтаж кассет на пристенные профили, прикрепленные к стенам с помощью анкеров
- Скрытое крепление к подсистеме, панели стыкуются друг с другом без зазоров
5. Металлические кассетные потолки скрытого крепления
- Панели крепятся кляммерами или защелками
- Каркас — С-образные / Z-образные профили
- Подвес — чаще нониус или шпилька М6—М8 (повышенная жёсткость).
Как работает/как устроены скрытые потолочные системы?
Подвесные потолки скрытого монтажа — это системы, в которых места креплений лицевых элементов к каркасу, а также профили и подвесы полностью спрятаны. Выглядят как сплошная поверхность без видимых направляющих, но при этом панели можно демонтировать для доступа к коммуникациям.

Рисунок 17. Варианты скрытых креплений: клеммовая (защелкиваемая) потолочная система clip-in (а) и навешиваемая потолочная система hook-on (б).
Таблица 4. Преимущества и недостатки скрытых систем
| Преимущества | Недостатки |
| Цельная поверхность без видимых профилей | Требует точной геометрии всех элементов, сложнее в изготовлении |
| Легче обеспечить жесткость потолочной конструкции чем у открытых систем | Монтаж требует высокой квалификации, ошибки ведут к перекосам |
| Сплошную поверхность легче мыть | Снять панель сложнее, чем в классических Т-системах |
Сроки установки металлического потолка?
Сроки установки зависят от:
- типа конструкции,
- сложности проекта,
- высоты потолка,
- наличия инженерных коммуникаций
- и условий объекта (доступ, график, подготовка основания).
Ниже приведены ориентиры по скорости монтажа и факторы, влияющие на сроки.
Ориентировочные средние сроки монтажа
| Тип системы | Скорость монтажа | Примерный темп работ |
| T-24 (видимая система, кассетная Lay-In) | Быстрее всего | от 25–60 м²/смена на бригаду 2–3 человек |
| Clip-In (скрытая система) | Дольше из-за защелкивания, точной подгонки | 15–40 м²/смена |
| Hook-On (скрытая, навесные кассеты на крюках) | Средняя скорость, зависит от веса панелей | 20–45 м²/смена |
| Реечные потолки (алюминиевые/стальные рейки) | Быстро на прямых участках, медленнее на криволинейных | 20–50 м²/смена |
| Грильято | Скорость ниже, т.к. требует аккуратного обращения для исключения деформации | 10–30 м²/смена |
Факторы, которые влияют на сроки:
- Чем выше потолок (4–6 м и более), тем ниже скорость, поскольку нужны строительные леса/вышки.
- Чем больше инженерных коммуникаций (свет, вентиляция, сплинкеры) тем сложнее обход узлов, размещение подвесов.
- Видимые Т-профили монтируются быстрее.
- Скрытые системы требуют точного уровня, подгонки, аккуратного клипсования.
- Крупные стальные кассеты могут быть достаточно тяжелыми и требуют участия двух монтажников.
- Криволинейная геометрия помещения, диагональная раскладка, дизайнерские рисунки увеличивают сроки монтажа.
- Прямые залы, и коридоры требуют меньше времени.
Список рассмотренных вопросов включает основные важные моменты при выборе металлического подвесного потолка. Однако для получения технически корректного решения и исключения проблем при монтаже и эксплуатации, задайте вопросы напрямую производителям или поставщикам.
10 главных вопросов перед покупкой подвесного потолка
Обязательно уточните:
- Есть ли сертификат на систему (комплекс), а не только на металл/панели?
- Из какого металла изготовлены панели (алюминий, сталь, толщина)?
- Есть ли пожарный сертификат на подвесной потолок?
- Какой тип покрытия (порошковая окраска, анодирование), стойкость к коррозии?
- Гарантирована ли совместимость элементов, подходит ли каркас для выбранных кассет/реек?
- Можно ли сочетать с продукцией других производителей?
- Каковы монтажные требования: типы подвесов, их шаговая схема, требования к подготовке основания?
- Сроки производства и поставки (особенно для нестандартных размеров)?
- Гарантия на покрытие (сколы, коррозия, изменение цвета)?
- Как решаются вопросы рекламаций и недостач?